
Het Amerikaanse Patent and Trademark Office heeft Nintendo op 2 september een patent toegekend dat verstrekkende gevolgen kan hebben voor de gehele game-industrie. Patent nummer 12.403.397 gaat veel verder dan eerder gedacht en beschrijft in feite het complete spelverloop van games waarbij spelers wezens oproepen om tegen elkaar te laten vechten. De patentaanvraag werd ingediend in maart 2023 en is zonder enig bezwaar goedgekeurd door het USPTO, wat opmerkelijk is voor zo'n breed patent.

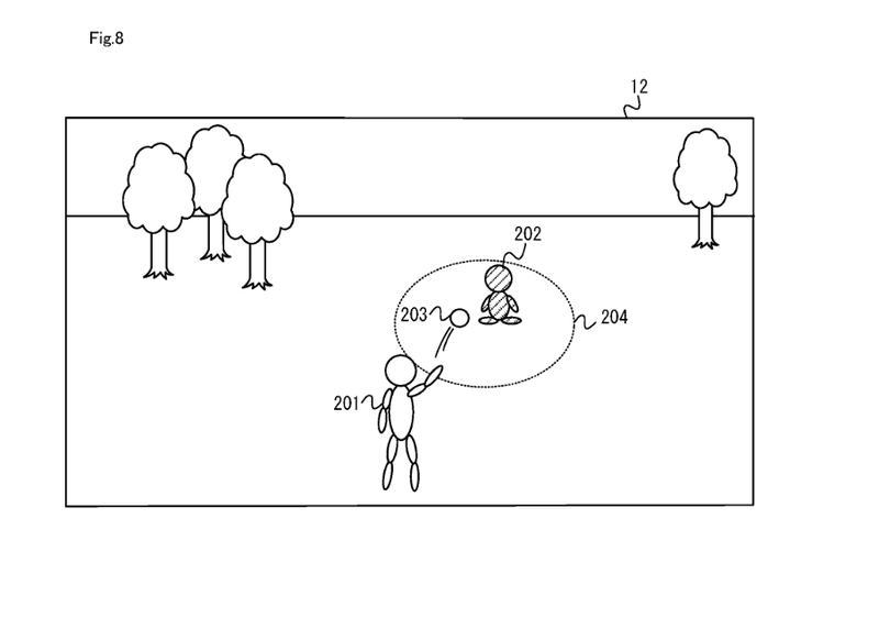
Het patent beschrijft zes specifieke stappen die samen het hart vormen van talloze populaire games. Het gaat om het bewegen van een spelerkarakter door een virtuele wereld, het oproepen van een secundair karakter zoals een Pokémon, en twee verschillende gevechtsscenario's. Als het opgeroepen wezen direct op een vijand wordt losgelaten volgt een gevecht dat de speler met knoppen bestuurt. Verschijnt het wezen op een lege plek dan beweegt het automatisch totdat de speler het naar een vijand stuurt voor een automatisch gevecht. Het schokkende is dat als een game al deze elementen bevat Nintendo een rechtszaak kan starten, ongeacht of ze die zouden winnen.

Deze ontwikkeling werpt een donkere schaduw over de lopende rechtszaak tegen Palworld-ontwikkelaar Pocketpair die al eerder gameplay-elementen moest aanpassen om juridische problemen te voorkomen. Nintendo's aanpak wordt omschreven als "all-you-can-patent" waarbij patentbureaus moeite hebben om prior art te vinden omdat die vooral bestaat in de vorm van andere games in plaats van patentdocumenten. Het patent bedreigt niet alleen Palworld maar potentieel dozijnen bestaande en toekomstige games in het populaire creature-collecting genre. Ontwikkelaars zullen nu mogelijk hun eigen patenten moeten aanvragen voor bescherming of riskeren dat hun games van de markt worden gehaald. De industrie staat voor een cruciale vraag: accepteert ze dat Nintendo praktisch eigenaar wordt van een heel genre of gaat ze terugvechten tegen wat velen zien als een bedreiging voor creativiteit en innovatie in gaming?
bron: https://gamesfray.com/last-week-nintendo-and-the-pokemon-company-received-a-u-s-patent-on-summoning-a-character-and-letting-it-fight-another/






Reacties (0)
Deel je mening over dit artikel met andere GameQuarter-lezers
Plaats een reactie